Series RCDB dry type electromagnetic separator (also known as the PDC series disc, RCDY series) is an iron removal devices used to clear the miscellaneous iron powder or block non-magnetic materials. Its internal electrical resin casting, self-cooled, fully sealed structure. The depth of penetration of magnetic field, suction power, dust, rain, corrosion resistance and other characteristics, even in extremely harsh environments and reliable operation. With CF, the CFL Series Suspended Electromagnetic Separators General. Its key performance indicators are at or higher than the JB/T7689-2004 the standard requirements, the product can remove the mixed 0.1 to 35 kg in the non-magnetic materials, magnetic material.

Main technical parameters:
|
项目 |
适应带宽 mm |
额定吊高h mm |
磁场强度 ≥mT |
物料厚度 ≤mm |
励磁功率 ≤kw |
适应带速 ≤m/s |
重量 kg |
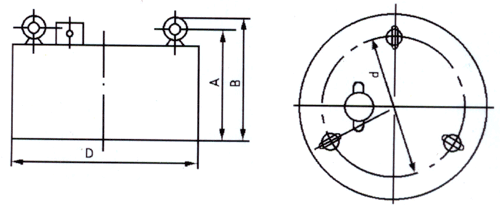
外型尺寸mm |
|
参数 |
|
型号 |
A |
B |
Dф |
dф |
|
RCDB-3 |
300 |
75 |
50 |
50 |
0.4 |
4.5 |
185 |
210 |
250 |
400 |
280 |
|
RCDB-4 |
400 |
100 |
50 |
70 |
0.6 |
300 |
240 |
280 |
500 |
400 |
|
RCDB-5 |
500 |
150 |
60 |
90 |
1 |
430 |
280 |
325 |
610 |
450 |
|
RCDB-6 |
600 |
175 |
60 |
120 |
1.6 |
580 |
280 |
325 |
710 |
500 |
|
RCDB-6.5 |
650 |
200 |
70 |
150 |
2 |
680 |
280 |
325 |
816 |
640 |
|
RCDB-8 |
800 |
250 |
70 |
200 |
3.6 |
950 |
310 |
355 |
960 |
780 |
|
RCDB-10 |
1000 |
300 |
70 |
250 |
5 |
1520 |
310 |
360 |
1200 |
920 |
|
RCDB-12 |
1200 |
350 |
70 |
300 |
6.8 |
2250 |
310 |
365 |
1400 |
1000 |
|
RCDB-14 |
1400 |
400 |
70 |
350 |
9 |
2950 |
405 |
485 |
1650 |
1400 |
|
RCDB-16 |
1600 |
450 |
70 |
400 |
13 |
4800 |
460 |
540 |
1900 |
1650 |
|
RCDB-18 |
1800 |
500 |
70 |
450 |
18 |
6900 |
530 |
610 |
2150 |
1800 | |